互感器的原理與用途
互感器的本質是一種能量交換,而且是非接觸式的。常見的有電壓互感器(俗稱變壓器)和電流互感器,其中電流互感器是一種專用的互感器。
一、電壓互感器
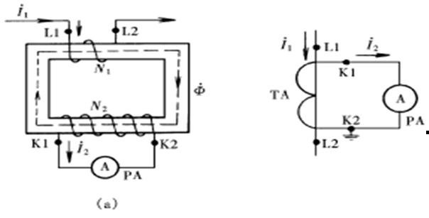
電壓互感器由一次繞組、二次繞組和鐵芯組成,如下圖:

根據電磁感應定律:
一次繞組的感應電動勢E1=(2πfN1/√2)Φm;
二次繞組的感應電動勢E2=(2πfN2/√2)Φm;
所以E1/E2=N1/N2,然而U1≈E1,U2≈E2,故U1/U2=N1/N2=k(電壓比)。
這就是變壓器的原理,電壓(U1、U2)與繞組的匝數(N1,N2)成正比。
其用途可以測量電壓,也可以做變壓器,比如220V變36V的單向變壓器,也可以做高壓變壓器,基本原理都是相通的,應用也十分廣泛!

二、電流互感器
電流互感器主要用于測量和繼電保護,因為電壓比較高,尤其是輸變電的應用場合,電流無法直接測量,這時就需要電流互感器做間接測量。

從電壓互感器我們得知電壓與繞組成比例,同理電流也是成比例的,I1/I2=Ki(Ki稱為變流比),所以我們只要測量出二次側電流I2,就可以根據比例式計算出被測量的一次側電流I1,I1=Ki*I2。
我們常見的電流互感器的變流比有10/5、20/5、30/5、50/5、75/5、100/5。因為我們規定5A是標準值,所以二次側電流均變到5A。


























